QR kód
Produkty
Kontaktujte nás


Fax
+86-574-87168065

E-mailem

Adresa
Průmyslová oblast Luotuo, okres Zhenhai, město Ningbo, Čína
Pokud provozujete těžké stroje – jako jsou válcovny oceli, které chrlí kov celou směnu, jeřáby zvedající tuny materiálu nebo důlní zařízení, která bojují s prachem a tlakem v podzemí – potřebujete spojku, která vás nezklame. To je přesně to, pro co je navržena standardní univerzální spojka pro flexibilní svařování Raydafon SWC-BH: spolehlivý přenos točivého momentu, i když je práce náročná.
Nejprve si povíme o jeho designu. Svařovaný třmen není jen funkcí – je to změna hry. Na rozdíl od šroubovaných třmenů, které se mohou časem uvolnit, je toto svařené, takže nehrozí, že by se části uvolnily, když vaše zařízení tvrdě pracuje. A hodí se také pro celou řadu nastavení, s průměry otáčení od 180 mm do 620 mm – není třeba hledat univerzální variantu. Jako standardní flex univerzální spojka zvládá až 15 stupňů úhlového nesouososti, což znamená, že pokud vaše hřídele nejsou dokonale seřazené (a buďme skuteční, zřídka jsou), stále udržuje výkon v pohybu. I když točivý moment dosáhne 1250 kN·m – vážná síla – zůstává stabilní, žádné zadrhávání, žádné poklesy.
Nešetřili jsme ani na materiálech. Tato věc je vyrobena z oceli 35CrMo – vysoce pevné látky, která odolává opotřebení, i když se s ní bouchá v dole nebo se zahřívá poblíž válcovny. Navíc jsme vložili přesná jehlová ložiska, takže se pohybuje hladce, snižuje tření a vydrží mnohem déle než levnější spojky. To je důvod, proč jde o univerzální spojky pro těžké stroje – nefunguje to jen pár týdnů; drží se a udržuje vaše zařízení v chodu. A pokud potřebujete svařované univerzální spojky pro průmyslové aplikace? To je ono – svařovaná konstrukce zvládá vibrace a namáhání lépe než šroubované alternativy, takže strávíte méně času opravováním a více času prací.
V Raydafonu je vyrábíme v Číně, ale na kvalitě nešetříme. Každý krok se řídí normami ISO 9001 – kontrolujeme ocel, kontrolujeme sváry, testujeme ložiska – takže víte, že získáváte spojku, která splňuje globální pravidla kvality. A pokud je vaše nastavení trochu jiné? Děláme úpravy na míru – upravíme velikost, upravíme specifikace – podle toho, co potřebujete, aby to sedělo. Nejlepší část? Není to cenově jako luxusní součástka. Získáte odolnou univerzální spojku, která funguje tvrdě, aniž byste museli platit majlant. Pro každého, kdo si nemůže dovolit prostoje, je tato spojka SWC-BH tím spolehlivým kusem, který udrží vaše stroje v pohybu, den co den.
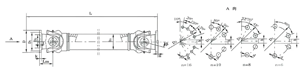
| Žádný. | Průměr kroužení D mm | Nominální točivý moment Tn KN·m | Úhel skládání os β (°) | Opotřebený točivý moment Tf KN·m | Velikost (mm) | Rotační setrvačnost kg.m2 | Hmotnost (kg) | |||||||||||
| Lmin | D1 (js11) | D2 (H7) | D3 | Lm | n-d | k | t | b (h9) | g | Lmin | Zvýšení 100 mm | Lmin | Zvýšení 100 mm | |||||
| SWC100WH | 100 | 1.25 | 0.63 | 25° | 243 | 84 | 57 | 60 | 55 | 6-9 | 7 | 2.5 | - | - | 0.0039 | 0.00019 | 4.5 | 0.35 |
| SWC 120WH | 120 | 2.5 | 1.25 | 25° | 307 | 102 | 75 | 70 | 65 | 8-11 | 8 | 2.5 | - | - | 0.0096 | 0.00044 | 7.7 | 0.55 |
| SWC 150WH | 150 | 5 | 25 | 25° | 350 | 130 | 90 | 89 | 80 | 8-13 | 10 | 3 | - | - | 0.371 | 0.00157 | 18 | 24.5 |
| SWC 180WH | 180 | 12.5 | 6.3 | 25° | 180 | 155 | 105 | 114 | 110 | 8-17 | 17 | 5 | - | - | 0.15 | 0.007 | 48 | 2.8 |
| SWC225WH | 225 | 40 | 20 | 15° | 520 | 196 | 135 | 152 | 120 | 8-17 | 20 | 5 | 32 | 9 | 0.365 | 0.0234 | 78 | 4.9 |
| SWC250WH | 250 | 63 | 31.5 | 15° | 620 | 218 | 150 | 168 | 140 | 8-19 | 25 | 6 | 40 | 12.5 | 0.817 | 0.0277 | 124 | 5.3 |
| SWC285WH | 285 | 90 | 45 | 15° | 720 | 245 | 170 | 194 | 160 | 8-21 | 27 | 7 | 40 | 15 | 1.756 | 0.051 | 185 | 6.3 |
| SWC315WH | 315 | 125 | 63 | 15° | 805 | 280 | 185 | 219 | 219 | 10-23 | 32 | 8 | 40 | 15 | 2.893 | 0.0795 | 262 | 8 |
| SWC 350WH | 350 | 180 | 90 | 15° | 875 | 310 | 210 | 267 | 194 | 10-23 | 35 | 8 | 50 | 16 | 5.013 | 0.2219 | 374 | 15 |
| SWC390WH | 390 | 250 | 125 | 15° | 955 | 345 | 235 | 267 | 215 | 10-25 | 40 | 8 | 70 | 18 | 8.406 | 0.2219 | 506 | 15 |
| SWC440WH | 440 | 355 | 180 | 15° | 1155 | 390 | 255 | 325 | 260 | 16-28 | 42 | 10 | 80 | 20 | 15.79 | 0.4744 | 790 | 21.7 |
| SWC 490WH | 490 | 500 | 250 | 15° | 1205 | 435 | 275 | 325 | 270 | 16-31 | 47 | 12 | 90 | 22.5 | 26.54 | 0.4744 | 1014 | 21.7 |
| SWC 550WH | 550 | 710 | 355 | 15° | 1355 | 492 | 320 | 426 | 325 | 16-31 | 50 | 12 | 100 | 22.5 | 48.32 | 1.357 | 1526 | 34 |
Pokud vás nebaví řešit složité spojky, které zpomalují vaši práci nebo se lámou, když je nejvíc potřebujete, univerzální spojka SWC-WH bez flexibilního svařování od Raydafonu změní hru. Je nabitý výhodami, díky kterým je to nejlepší volba pro každého, kdo potřebuje hladký přenos točivého momentu v mechanických systémech – žádné matoucí svařovací kroky, jen solidní výkon, který přesně zapadne do vašeho pracovního postupu.
Za prvé, instalace této věci je mnohem jednodušší, než si myslíte. Na rozdíl od svařovaných spojek, které vás nutí přinést další nástroje nebo čekat na zatuhnutí svarů, SWC-WH používá šroubovací konstrukci. Můžete jej rychle zapojit do stávajícího nastavení a kdy je čas na údržbu? Rozložení je hračka, takže vaše průmyslové vybavení tráví méně času nečinností. To je důvod, proč je to tak skvělá všestranná spojka univerzálního kloubu s vysokým točivým momentem – žádné prostoje, stačí nastoupit, opravit, co potřebujete, a vrátit se do práce.
Pokud jde o odolnost, je vyrobena tak, aby ji vydržela. Používáme odolné materiály, které zvládají velké zatížení a neustálé vibrace, aniž by ucukly – ideální pro rušná průmyslová místa, kde se vybavení nikdy opravdu nerozbije. A protože nedochází ke svařování, nemusíte se obávat o slabá místa, která se objeví, když se sváry časem opotřebují. Nejedná se o spojku, kterou je třeba každých pár měsíců vyměnit; je to spolehlivá univerzální spojka pro průmyslové stroje, která se drží a udržuje vaše operace stabilní.
Nesouososti? Žádný problém. Hřídele nikdy nezůstanou dokonale seřazené, zejména v automobilových nebo dopravních systémech, ale SWC-WH zvládá úhlové, axiální a radiální odchylky jako profesionál. Je to druh spojky kardanového kloubu hnacího hřídele, který udržuje výkon v plynulém pohybu, i když je vyrovnání trhané – žádné trhání, žádné poklesy, jen konzistentní výkon.
A mluvme o nákladech. Svařování přidává další náklady na práci a materiál, ale tato spojka to všechno přeskočí. Získáte kvalitní produkt bez nadměrného utrácení, což je velká výhra pro každý rozpočet. Dokonce i na složitých místech, jako jsou námořní zařízení, kde je koroze neustálou hrozbou, obstojí jako spolehlivá námořní univerzální spojka – odolná proti slané vodě, nenáročná na vaši peněženku.
Pokud se zajímáte o obnovitelné zdroje energie, tato spojka se také hodí. Je to pevná univerzální kloubová spojka pro zařízení na obnovitelné zdroje energie, která přenáší energii efektivně a téměř bez odpadu. Navíc je lehký, takže nezatěžuje váš systém – skvělé pro udržení chodu udržitelným způsobem bez obětování výkonu.
Ve společnosti Raydafon neprodáváme pouze spojky – vyrábíme takové, které vyhovují vašim potřebám. SWC-WH je přizpůsobitelný, takže funguje přesně tak, jak chcete. Pokud jste zvědaví, jak to může usnadnit vaše operace, kontaktujte náš tým. Provedeme vás tím, žádný žargon – jen na rovinu, co pro vás může tato spojka udělat.
Univerzální spojka SWC-WH od Raydafonu bez flexibilního svařovacího typu funguje na základním know-how mechaniky kardanových spojů – ale vylepšili jsme ji tak, aby byla tvrdší pro průmyslové práce. Celá pointa? Zajistěte hladký pohyb točivého momentu mezi dvěma hřídeli, které nejsou dokonale srovnané, i když jsou pod úhlem. Jako účelová spojka univerzálního kloubu kardanové hřídele SWC používá uprostřed tvarovaný křížový kus, který udržuje stálý tok rotační síly – přesně proto je to taková univerzální spojka s vysokým kroutícím momentem pro náročnou práci, jako jsou válcovny nebo zdvihací stroje.
Pojďme si rozebrat jádro toho, jak to funguje: existují dvě vidlicová třmeny a jsou spojeny centrálním křížem (říkáme tomu pavouk). Toto nastavení umožňuje třmenům otáčet se ve více směrech – takže i když jsou hřídele posunuty až o 25° (to je jeho maximální úhel osy ohybu), krouticí moment se stále přenáší rovnoměrně. Má také specifikace, které to podporují: průměry otáčení se pohybují od φ58 do φ620 a zvládá jmenovitý točivý moment od 0,15 do 1000 kN·m. Když ji používáte jako vysoce výkonnou univerzální kloubovou spojku pro operace válcovací stolice, tato konstrukce znamená, že se vstupní rotace změní na výstupní pohyb bez zádrhelů – tyto kloubové spoje se samy otáčí, aby vyrovnaly nesouosost, bez přerušení.
Proč je důležitá část „bez flex svařování“? Svary jsme vyměnili za šroubové nebo svorkové spoje. Svary mohou být časem slabými místy, ale tyto spojovací prvky snižují riziko selhání – a také usnadňují spojování dohromady. Tato průmyslová spojka s univerzálním kloubem má také vylepšený design vidlicové hlavy, který zabraňuje uvolnění šroubů a zvyšuje její strukturální pevnost o 30 % až 50 %. To je velký problém pro náročná místa, jako jsou doly nebo staveniště, kde funguje jako odolná spojka univerzálního kloubového hřídele SWC – vydrží i při velkém zatížení, aniž by se vzdalovala.
Dalším úspěchem je zde účinnost: dosahuje až 98,6% účinnosti přenosu. Každý díl jsme zkonstruovali tak, aby se snížilo tření a plýtvání energií – takže není žádným překvapením, že se jedná o efektivní univerzální spojku pro přenos velkého výkonu ve vysoce výkonných průmyslových zařízeních. A běží tiše: obvykle 30-40 dB(A). Je to díky vyvážené rotaci a vestavěnému tlumení vibrací – což z ní dělá nízkohlučnou univerzální spojku pro místa, kde je hluk problémem. Navíc udržuje náklady na energii na nízké úrovni, takže kontroluje i energeticky úspornou spojku s univerzálním kloubem.
V systémech univerzálních spojek těžkých strojů na tom záleží nejvíce: SWC-WH rozkládá síly rovnoměrně na všechny své části. Žádný jednotlivý kus není příliš namáhán, což znamená méně poruch a delší životnost. Ve společnosti Raydafon nevyrábíme tuto spojku jen tak, aby splňovala specifikace – přizpůsobujeme ji tak, aby fungovala pro vaši práci, ať už se jedná o robustní těžké stroje nebo specializovaná průmyslová zařízení. Pokud jej chcete vyladit, aby váš systém fungoval plynuleji nebo vydržel déle, promluvte si s naším týmem – pomůžeme vám získat nastavení, které přesně odpovídá tomu, co potřebujete.
⭐⭐⭐⭐⭐ Zhang Wei, strojní inženýr, Beijing Industrial Machinery Co., Ltd.
Univerzální spojku SWC-WH od Raydafonu bez ohebného svařovacího typu máme na našem výrobním zařízení již několik měsíců a je stabilní – zvláště když tlačíme na naše stroje, aby zvládaly vysoké zatížení. Co opravdu oceňuji, je jeho robustní konstrukce: i při těch dlouhých a náročných směnách, kde by mohly ostatní díly začít váhat, tato spojka udržuje věci v hladkém chodu – žádné náhodné vibrace, žádné náhlé poruchy, které rozhodí celou naši řadu.
Instalace byla taky hračka. Náš tým nemusel trávit hodiny vymýšlením složitých kroků; rychle jsme to namontovali a od té doby jsme to nemuseli upravovat. U vysoce výkonných zařízení, jako je naše, je spolehlivost a kvalita nesmlouvavá a tato spojka kontroluje obě políčka. Raydafon prokázal, že je partnerem, na kterého se zde můžeme spolehnout – jsme opravdu spokojeni s tím, jak tento produkt obstojí.
⭐⭐⭐⭐⭐ John Smith, ředitel závodu, Florida Manufacturing, USA
Spojku Raydafon SWC-WH jsem uvedl do provozu v našem závodě na Floridě před několika měsíci a bylo to přesně to, co jsme potřebovali – jednoduché, bezproblémové a trvale účinné. Přenos výkonu zůstává stabilní, což je klíčové pro udržení tempa naší výroby, a nemuseli jsme se ho ani jednou dotýkat kvůli údržbě. To je pro nás velká výhra; méně času na opravu dílů znamená více času na provedení práce.
I když stroje provozujeme tvrdě a pod vysokým namáháním, tato spojka neucukne – prostě jde dál. Instalace byla také jednoduchá; naši technici to během chvilky nastavili. A když spojíte ten výkon s rozumnou cenou? Je to solidní hodnota. Navíc, zákaznická podpora Raydafonu byla špičková, když jsme měli rychlou otázku – rychle se nám vrátili. Není pochyb o tom, že jejich produkty budeme nadále používat.
⭐⭐⭐⭐⭐ Roberto Silva, provozní ředitel, São Paulo Engineering Solutions, Brazílie
S Raydafonem spolupracujeme již nějakou dobu, ale jejich spojka SWC-WH Without Flex v našich provozech skutečně vynikla – opakovaně se osvědčila. První, čeho si všimnete, je jeho pevná konstrukce; je stavěný tak, aby vydržel, a to se promítá do spolehlivého výkonu našich strojů.
Než jsme přešli na tuto spojku, potýkali jsme se s častými prostoji kvůli problémům s nesouosostí a předčasným opotřebením našich starých dílů. Teď? Tyto problémy jsou pryč. Zkrátilo to naše prostoje, což bylo obrovské zvýšení produktivity. A instalace? Super snadné – náš tým neztrácel čas nastavováním řešení problémů. Pro každou společnost, která potřebuje díly pro přenos energie, kterým může důvěřovat, je to jedno. Rozhodně bych to doporučil.
⭐⭐⭐⭐⭐ Peter Müller, technický vedoucí, Stuttgart Manufacturing GmbH, Německo
V našem výrobním závodě ve Stuttgartu používáme spojku Raydafon SWC-WH více než šest měsíců a bylo to bezchybné – vážně, za celou dobu nebyl jediný problém. Jeho design je přímočarý, takže instalace je hračka; náš tým to měl namontované a připravené k použití během okamžiku, nebyly potřeba žádné složité kroky ani speciální nástroje.
Co mě ale opravdu zaujalo, je kvalita. Svařování je čisté a pevné a materiály působí vysoce kvalitním dojmem – můžete říct, že neřezaly rohy. Při pravidelném používání perfektně drží a nevykazuje žádné známky opotřebení ani po měsících nepřetržitého provozu. Jsme více než spokojeni s tím, jak tento produkt funguje, a už je na našem seznamu, abychom jej mohli použít pro budoucí projekty.
Adresa
Průmyslová oblast Luotuo, okres Zhenhai, město Ningbo, Čína
Tel
E-mailem


+86-574-87168065


Průmyslová oblast Luotuo, okres Zhenhai, město Ningbo, Čína
Copyright © Raydafon Technology Group Co., Limited Všechna práva vyhrazena.
Links | Sitemap | RSS | XML | Zásady ochrany osobních údajů |
