QR kód
Produkty
Kontaktujte nás


Fax
+86-574-87168065

E-mailem

Adresa
Průmyslová oblast Luotuo, okres Zhenhai, město Ningbo, Čína
Univerzální spojka SWC-BH Standard Flex Welding Type od společnosti Raydafon je navržena speciálně pro přenos točivého momentu v těžkých podmínkách v náročných scénářích těžkých strojů – například válcovny, jeřáby a důlní zařízení, která pracují pod neustálým vysokým namáháním.
Dodává se s navařeným třmenem jako klíčovým konstrukčním prvkem a jeho průměry otáčení pokrývají praktický rozsah: od 180 mm až po 620 mm. To, co jej odlišuje pro náročné práce, je jeho schopnost zvládnout úhlové nesouososti až 15 stupňů a navíc může převzít zatížení točivým momentem až 1250 kN·m – obojí je kritické pro udržení stabilního provozu i v drsných pracovních podmínkách.
Kvalita sestavení je zaměřena na odolnost: spojka používá vysokopevnostní ocel 35CrMo pro dlouhodobou houževnatost, spárovaná s přesnými jehlovými ložisky pro zajištění hladkého a spolehlivého výkonu v průběhu času. To z něj činí volbu pro dvě klíčové potřeby: univerzální spojky přizpůsobené pro těžké stroje a svařované univerzální spojky vhodné pro průmyslové aplikace.
Raydafon vyrábí tuto spojku v Číně a veškerá výroba se řídí normami ISO 9001, aby byla zaručena konzistentní kvalita. Kromě toho nabízí vlastní možnosti, které vyhovují konkrétním požadavkům – to vše za ceny, které zůstávají konkurenceschopné pro podniky, které hledají spolehlivost i hodnotu.
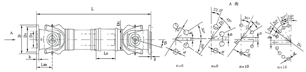
| Žádný. | Průměr kroužení D mm | Nominální točivý moment Tn KN·m | Úhel skládání os β (°) | Opotřebený točivý moment Tf KN·m | Flex množství Ls mm | Velikost (mm) | Rotační setrvačnost kg.m2 | Hmotnost (kg) | |||||||||||
| Lmin | D1 (js11) | D2 (H7) | D3 | Lm | n-d | k | t | b (h9) | g | Lmin | Zvýšit 100 mm | Lmin | Zvýšit 100 mm | ||||||
| SWC58BH | 58 | 0.15 | 0.075 | ≤22 | 35 | 325 | 47 | 30 | 38 | 35 | 4-5 | 3.5 | 1.5 | - | - | - | - | 2.2 | - |
| SWC65BH | 65 | 0.25 | 0.125 | ≤22 | 40 | 360 | 52 | 35 | 42 | 46 | 4-6 | 4.5 | 1.7 | - | - | - | - | 3 | - |
| SWC75BH | 75 | 0.5 | 0.25 | ≤22 | 40 | 395 | 62 | 42 | 50 | 58 | 6-6 | 5.5 | 2 | - | - | - | - | 5 | - |
| SWC90BH | 90 | 1 | 0.5 | ≤22 | 45 | 435 | 74.5 | 47 | 54 | 58 | 4-8 | 6 | 2.5 | - | - | - | - | 6.6 | - |
| SWC100BH | 100 | 1.5 | 0.75 | ≤25 | 55 | 390 | 84 | 57 | 60 | 58 | 6-9 | 7 | 2.5 | - | - | 0.0044 | 0.00019 | 6.1 | 0.35 |
| SWC120BH | 120 | 2.5 | 1.25 | ≤25 | 80 | 485 | 102 | 75 | 70 | 68 | 8-11 | 8 | 2.5 | - | - | 0.0109 | 0.00044 | 10.8 | 0.55 |
| SWC150BH | 150 | 5 | 2.5 | ≤25 | 80 | 590 | 13 | 90 | 89 | 80 | 8-13 | 10 | 3 | - | - | 0.0423 | 0.00157 | 24.5 | 0.85 |
| SWC160BH | 160 | 10 | 5 | ≤25 | 80 | 660 | 137 | 100 | 95 | 110 | 8-17 | 15 | 3 | 20 | 12 | 0.145 | 0.006 | 68 | 1.72 |
| SWC180BH | 180 | 20 | 10 | ≤25 | 100 | 810 | 155 | 105 | 114 | 130 | 8-17 | 17 | 5 | 24 | 14 | 0.175 | 0.007 | 70 | 2.8 |
| SWC200BH | 200 | 32 | 16 | ≤15 | 110 | 860 | 170 | 120 | 127 | 135 | 8-17 | 19 | 5 | 28 | 16 | 0.31 | 0.013 | 86 | 3.6 |
| SWC225BH | 225 | 40 | 20 | ≤15 | 140 | 920 | 196 | 135 | 152 | 120 | 8-17 | 20 | 5 | 32 | 9 | 0.538 | 0.0234 | 122 | 4.9 |
| SWC250BH | 250 | 63 | 31.5 | ≤15 | 140 | 1035 | 218 | 150 | 168 | 140 | 8-19 | 25 | 6 | 40 | 12.5 | 0.966 | 0.0277 | 172 | 5.3 |
| SWC285BH | 285 | 90 | 45 | ≤15 | 140 | 1190 | 245 | 170 | 194 | 160 | 8-21 | 27 | 7 | 40 | 15 | 2.011 | 0.051 | 263 | 6.3 |
| SWC315BH | 315 | 125 | 63 | ≤15 | 140 | 1315 | 280 | 185 | 219 | 180 | 10-23 | 32 | 8 | 40 | 15 | 3.605 | 0.0795 | 382 | 8 |
| SWC350BH | 350 | 180 | 90 | ≤15 | 150 | 1410 | 310 | 210 | 267 | 194 | 10-23 | 35 | 8 | 50 | 16 | 7.053 | 0.2219 | 582 | 15 |
| SWC390BH | 390 | 250 | 125 | ≤15 | 170 | 1590 | 345 | 235 | 267 | 215 | 10-25 | 40 | 8 | 70 | 18 | 12.164 | 0.2219 | 738 | 15 |
| SWC440BH | 440 | 355 | 180 | ≤15 | 190 | 1875 | 390 | 255 | 325 | 260 | 16-28 | 42 | 10 | 80 | 20 | 21.42 | 0.4744 | 1190 | 21.7 |
| SWC490BH | 490 | 500 | 250 | ≤15 | 190 | 1985 | 435 | 275 | 325 | 270 | 16-31 | 47 | 12 | 90 | 22.5 | 32.86 | 0.4744 | 1452 | 21.7 |
| SWC550BH | 550 | 710 | 355 | ≤15 | 240 | 2300 | 492 | 320 | 426 | 305 | 16-31 | 50 | 12 | 100 | 22.5 | 68.92 | 1.357 | 2380 | 34 |
Když mluvíme o vysoce výkonných průmyslových zařízeních, které spolehlivě udržují tok výkonu, je nesmlouvavou součástí univerzální kloubová spojka SWC (často nazývaná kloubová spojka kardanové hřídele SWC). Zjistíte, že je to těžké při práci v zařízeních, jako jsou válcovací stolice, zdvihací stroje a všechny druhy těžkých systémů těžkých strojů – místa, kde ořezávání při přenosu síly prostě není možné.
Jeho hlavní práce? Propojte dva převodové hřídele, které nejsou dokonale zarovnány (neshodné osy) a zajistěte, aby se výkon pohyboval bez problémů, i když se provozní podmínky zhorší. Žádné zadrhávání, žádné přestávky – jen stabilní přenos, když na tom nejvíce záleží.
Pojďme si rozebrat jeho klíčové specifikace, které umožňují tento výkon:
Průměr kroužení: Pohybuje se od φ58 do φ620, pokrývá široké rozpětí průmyslových potřeb. Nominální točivý moment: Rukojeti kdekoli od 0,15 kN·m do 1000 kN·m – dostatek síly i pro požadavky s vysokým kroutícím momentem. Úhel ohybu osy: Dokáže zaujmout úhly až 25°, aniž by to ohrozilo funkci, perfektní pro udržení hřídele.
Kde nejvíce vynikne? Přemýšlejte o operacích válcovací stolice – kde funguje jako spolehlivá vysokovýkonná univerzální spojka, která odolá intenzivnímu tlaku válcovny. Nebo ve zdvihacích zařízeních a zařízeních pro manipulaci s materiálem, kde jako odolná spojka s kloubovým hřídelem SWC udržuje věci stabilní i při velkém zatížení. Nejenže to funguje – udržuje operace stabilní, když jde do tuhého.
Univerzální kloubová spojka SWC není jen složená dohromady – je od základu navržena tak, aby obstála v průmyslovém prostředí, s funkcemi, které zvyšují výkon i životnost. Podívejme se blíže na to, proč jeho struktura tak dobře funguje.
Chytrý, bezpečný design
Jeho jádrem je integrovaná konstrukce vidlicové hlavy – zde žádné samostatné kusy držené pohromadě šrouby. To je důležité, protože to snižuje riziko uvolnění nebo prasknutí šroubů, což je běžné bolení hlavy u jiných nastavení. Ve skutečnosti tento design zvyšuje strukturální pevnost o 30% až 50% ve srovnání se staršími styly. Pro každého, kdo se spoléhá na kardanovou spojku těžkého stroje, to znamená méně poruch, když jsou věci intenzivnější. Je to druh robustní spojky univerzálního kloubu, která si udržuje hladký chod i ve vysoce namáhaných prostředích, kde mohou selhat jiné díly.
Postaveno pro přenášení nákladu
Toto není váš průměrný konektor. Odolná spojka univerzálního kloubu SWC je vyrobena tak, aby zvládla vážnou hmotnost – vzpomeňte si na důlní zařízení, stavební stroje a další těžké údery. Když potřebujete robustní spojku univerzálního kloubu, která pod tlakem neustoupí, je to ta, která vám pomůže. Není to jen o velikosti; jde o to, aby materiály a inženýrství spolupracovaly, aby převzaly váhu, aniž by se rychle opotřebovaly.
Efektivně přenáší energii
Přemýšleli jste někdy, kam jde všechna energie ve velkých průmyslových zařízeních? Tady se moc neplýtvá. Tato spojka univerzálního kloubu s vysokým kroutícím momentem dosahuje úrovně účinnosti až 98,6 %, což znamená méně energie ztracené jako teplo nebo tření. Pro operace, které chtějí snížit náklady, je to velká výhra. Je to druh účinné univerzální kloubové spojky, která dělá rozdíl ve velkých systémech přenosu energie a působí jako spolehlivá univerzální kloubová spojka, která udržuje účty za energii pod kontrolou.
Tichý a stabilní
Hlasité stroje mohou být skutečným problémem, zejména v prostorách, kde na hluku záleží. Univerzální spojka SWC udržuje věci v klidu, s hladinami hluku obvykle mezi 30-40 dB(A) – tišší než při běžné konverzaci. To z něj dělá skvělou nízkohlučnou spojku univerzálního kloubu pro prostředí, kde je klíčem ke snížení hluku, aniž byste museli obětovat spolehlivost, kterou potřebujete. Ať už je to v továrně nebo v přesné dílně, tato spojka s univerzálním kloubem s hladkým chodem zvládne svou práci i bez rakety.
Standardní flexibilní svařovací spojka SWC-BH není jen další součástí – je to tažný kůň, který dokáže efektivně přenášet výkon, i když jsou stroje silně namáhány. Pojďme si rozebrat, kde to opravdu svítí.
Vezměte si například těžké stroje a stavební stroje. Když se potýkáte s extrémním zatížením a neustálými vibracemi – představte si bagry nebo buldozery – tato spojka neustoupí. Jeho svařovaný design dodává extra houževnatost, takže vydrží i křehčí varianty, které by mohly prasknout nebo se opotřebovat veškerým tím pohybem. Je to druh univerzální spojky s vysokým točivým momentem, která udržuje proudění energie bez ohledu na to, jak drsná je práce.
V továrnách, zejména na dopravníkových linkách a montážních systémech, záleží na přesnosti. Tato průmyslová univerzální spojka zvládá úhly a posuny ve vyrovnání bez přeskakování a udržuje konstantní rychlost. To znamená méně času na opravu poruch a více času na udržení výroby. Inženýři to mají rádi, protože se přizpůsobí axiálním, radiálním a úhlovým nesouosostem – malým posunům, které mohou odhodit jiné díly.
V automobilovém průmyslu a dopravě potřebují hnací hřídele něco spolehlivého, aby plynule předávaly výkon. SWC-BH se přesně hodí, ať už jde o nákladní auta, vlaky nebo jiná vozidla. Jeho flex svařovací design usnadňuje zasunutí do stávajících sestav a zvládá vysoké rychlosti bez omezení bezpečnosti. Je to univerzální spojka na hnací hřídel, která udržuje věci v pohybu.
Práce na moři a na moři jsou náročné na vybavení – slaná voda, drsné počasí, nepředvídatelné zatížení. I zde tato spojka obstojí. Jako námořní univerzální spojka odolná proti korozi odolává solné mlze a rozbouřenému moři a udržuje lodní motory a pomocné stroje v konzistentním chodu. Žádné poruchy související s rzí, žádné neočekávané odstávky.
Nastavení obnovitelné energie, jako jsou větrné turbíny a solární sledovače, potřebují součásti, které neplýtvají energií. SWC-BH vystupuje jako univerzální spojka pro obnovitelnou energii, která přenáší výkon s téměř jakoukoli vůlí. Splňuje globální standardy kvality, takže ať už je to větrná farma v Evropě nebo solární elektrárna v Asii, dodává.
Ve společnosti Raydafon tyto spojky nejen prodáváme – vyrábíme je na míru. Potřebujete konkrétní velikost, materiál nebo kapacitu točivého momentu? Náš tým vyladí SWC-BH tak, aby přesně vyhovoval vašim potřebám. Oslovte nás a my vám pomůžeme získat z vašeho systému maximum.
Když hledáte někoho, komu důvěřujete s mechanickými součástmi – zejména s věcmi, jako je univerzální spojka SWC-BH Standard Flex Welding Type – Raydafon není jen další možností. Jsme výrobce, který žije a dýchá kvalitou, což se projevuje v každém díle, který vyrábíme.
Za prvé, kvalita pro nás není dodatečná myšlenka. Používáme špičkové technické techniky a podrobujeme každou jednotlivou spojku univerzálního kloubu – ať už je to spojka s vysokým kroutícím momentem pro těžké stroje nebo průmyslový model pro tovární nastavení – přísnými kontrolami. Každý díl splňuje normy ISO 9001 a my je tvrdě testujeme: extrémní zatížení, drsné podmínky, cokoliv, co na to vaše odvětví hodí. Cíl? Žádné neočekávané poruchy, menší riziko pro vaše operace a spojení, které zajistí hladký chod vašich systémů.
Pak je tu přizpůsobení. Buďme skuteční – žádné dvě práce nejsou stejné. Možná budete potřebovat univerzální spojku hnacího hřídele se specifickými rozměry nebo univerzální spojku pro lodní pohon vyrobenou z korozivzdorného materiálu, nebo dokonce univerzální spojku z obnovitelných zdrojů vyladěnou pro ten správný krouticí moment. Neděláme vám, abyste seděli jako součást „univerzální velikosti“. Řekněte nám, co potřebujete, a my to přizpůsobíme tak, aby zapadly přímo do vašeho stávajícího nastavení – ať už se jedná o automobilové, námořní nebo solární/větrné systémy.
A víme, že na ceně také záleží. Neměli byste si vybírat mezi dobrou spojkou a férovou cenou. Optimalizovali jsme náš dodavatelský řetězec a rozšířili naši výrobu, abychom mohli nabízet konkurenceschopné ceny i na specializované díly – jako je univerzální spojka pro lodní pohon nebo průmyslový model s vysokým točivým momentem – bez omezení kvality. Jde o to dát vám hodnotu, která vydrží, ne jen levný díl, který rychle selže.
Náš tým také nezmizí, jakmile stisknete „objednávka“. Jsme tu od prvního hovoru – když se snažíte zjistit, která spojka univerzálního kloubu nejlépe funguje pro vaše zařízení na obnovitelné zdroje energie nebo výrobní linku – až po poprodejní podporu, pokud máte nějaké dotazy. Máme dlouholeté know-how v oboru, takže vás můžeme navést ke správné volbě, pomoci vám vyhnout se prostojům a zajistit, aby vaše spojka dělala přesně to, co potřebujete.
V Raydafonu nejen prodáváme díly, ale budujeme partnerství. Chceme být tým, kterému důvěřujete, aby vaše operace pokračovaly vpřed, s univerzálními kloubovými řešeními, která fungují stejně tvrdě jako vy. Pokud máte konkrétní potřeby, obraťte se na naše specialisty ještě dnes – promluvme si o tom, jak vám můžeme pomoci.
Adresa
Průmyslová oblast Luotuo, okres Zhenhai, město Ningbo, Čína
Tel
E-mailem


+86-574-87168065


Průmyslová oblast Luotuo, okres Zhenhai, město Ningbo, Čína
Copyright © Raydafon Technology Group Co., Limited Všechna práva vyhrazena.
Links | Sitemap | RSS | XML | Zásady ochrany osobních údajů |
